Перейдите в раздел для просмотра товаров
Чувствительность
Тип 30: Угловые минуты, шаг пузырька 2 мм
Типы
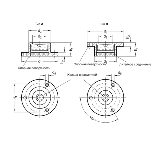
Тип A: Монтажный фланец для поверхности с болтовым креплением
Тип B: Монтажный фланец для вставки (конусная втулка)
Корпус
Алюминий
анодированный, естественный цвет ALN
Анодированный, чёрный цвет ALS
Элемент спиртового уровня
Корпус из стеклопластика
Заполнение
Бесцветный прозрачный K
Литьевой состав
На минеральной основе
Информация
Пузырьковые уровни GN 2277 предназначены для проверки горизонтального положения кондукторов, машин, приборов, оборудования и инструментов.
Спиртовые уровни выравниваются относительно опоры поверхности, так чтобы пузырёк расположился в кольце с маркировкой после достижения горизонтального положения контактной поверхности.
Аксессуары
GN 2277.1 Регулировочные пластины
По запросу
Заполнение, зелёный прозрачный
Другая чувствительность
Медный корпус или корпус из нержавеющей стали
Пример применения

Пузырьковые спиртовые уровни GN 2277 и выравнивающие элементы (в данном примере выравнивающие элементы GN 355 и монтажные инструменты GN 355.1 идеально подходят для использования, когда удерживающая пластина должна быть приведена в точное горизонтальное положение.
Даже после первоначальной регулировки пузырьковый спиртовой уровень остаётся в блоке так, чтобы снова провести проверку и регулировку точного выравнивания.
Оплата товара производится только за безналичный расчет. Документы для оплаты высылаются на электронную почту заказчика после согласования всех существенных условий заказа (ассортимент, кол-во изделий, сроки поставки и др.). Датой оплаты считается дата поступления денежных средств на расчетный счет продавца.
Доставка осуществляется на территории РФ и СНГ транспортными компаниями по согласованию с заказчиком. Возможен самовывоз со склада продавца (перед приездом необходимо связаться с менеджером и уточнить готовность товара к отгрузке). Дата и время доставки согласовываются с заказчиком.
Связаться с нами
Напишите вопрос или опишите задачу — менеджер свяжется с Вами в ближайшее время.