Перейдите в раздел для просмотра товаров
Характеристики
Штифт
Нержавеющая сталь AISI 303
Т-образная ручка
Пластик (полиамид PA)
- Чёрный цвет
- Термостойкость до 80 °C
Шарики
Нержавеющая сталь AISI 420C
Нажимная пружина
Нержавеющая сталь, немецкий материал № 14565
Информация
Штифты с шариковыми фиксаторами GN 113.7 применяются для быстрого крепления, соединения и фиксации различных деталей и заготовок. Типовая область применения – установочные штифты, которые часто необходимо демонтировать и устанавливать вновь.
После нажатия пружинной кнопки оба шариковых фиксатора будут разблокированы, а после отпускания – снова заблокированы.
Техническое приложение содержит значения грузоподъёмности для двустороннего сопротивления срезу (прочность на разрыв).
Аксессуары
- Шариковые цепи GN 111 /GN 111.5
- Удерживающие тросы GN 111.2
- Спиральные удерживающие тросы GN 111.4
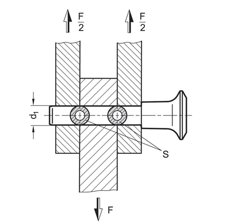
Грузоподъёмность штифтов с шариковыми фиксаторами / установочных штифтов

Информация
Значения грузоподъёмности, указанные в таблице для двустороннего сопротивления срезу (прочность на разрыв), рассчитаны или определены теоретическим путём на основании стандарта DIN 50141.
При этом поперечное сечение S болта, находящегося под угрозой, согласно ближайшей схеме учитывалось как две плоскости среза до разрыва.
Приведенные подробные данные по допустимой нагрузке являются необязательными, ориентировочными значениями, не предполагающими какой-либо ответственности. Они не влекут за собой возникновения гарантийных обязательств, поскольку могут меняться в зависимости от эксплуатационных условий.
Пользователи должны самостоятельно оценивать пригодность изделий для предполагаемого использования. Условия окружающей среды могут повлиять на указанные значения.
При проектировании должен учитываться соответствующий коэффициент безопасности.
Грузоподъёмность F в кН ≈ двухстороннее сопротивление сдвигу согласно DIN 50141 (прочность на разрыв)
Оплата товара производится только за безналичный расчет. Документы для оплаты высылаются на электронную почту заказчика после согласования всех существенных условий заказа (ассортимент, кол-во изделий, сроки поставки и др.). Датой оплаты считается дата поступления денежных средств на расчетный счет продавца.
Доставка осуществляется на территории РФ и СНГ транспортными компаниями по согласованию с заказчиком. Возможен самовывоз со склада продавца (перед приездом необходимо связаться с менеджером и уточнить готовность товара к отгрузке). Дата и время доставки согласовываются с заказчиком.