Перейдите в раздел для просмотра товаров
Основание и корпус
Высокостойкий технополимер на основе полиамида (PA).
Основание в чёрном цвете.
Корпус в следующих цветах:
- C2: оранжевый цвет RAL 2004, глянцевая отделка.
- C3: серый цвет RAL 7035, глянцевая отделка.
- C1: серо-чёрный цвет RAL 7021, глянцевая отделка.
Крепление основания к корпусу ультразвуковой сваркой предотвращает разделение и исключает попадание пыли и жидкости.
Окно
Прозрачный технополимер на основе полиамида (PA-T), отливаемый над корпусом с обеспечением превосходного уплотнения (избегайте контакта со спиртами во время операций по очистке).
Дисплей
Указывает на смещение механизма, управляемого шпинделем, с исходного положения (0).
Четырёхразрядный барабанный счётчик. Цифры красного барабана показывают десятичные значения. Дополнительная градуированная шкала рядом с последней десятичной цифрой обеспечивает дополнительную точность показаний.
Экран может находиться в различных положениях (см. «Таблицу возможных комбинаций»).
- AN: наклонный экран, счётчик в верхнем положении.
- AR: наклонный экран, счётчик в нижнем положении.
- FN: экран в лицевой части, счётчик в верхнем положении.
- FR: экран в лицевой части, счётчик в нижнем положении.
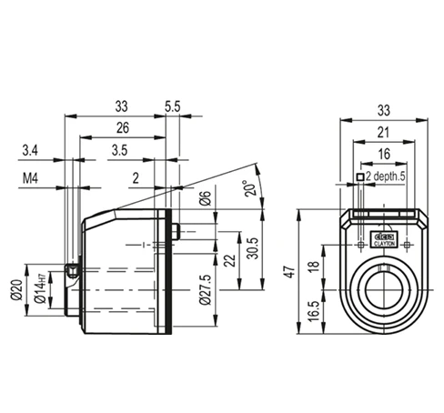
Внутренняя прокладка
Уплотнительное кольцо из бутадиен-нитрильного каучука, установленное между корпусом и втулкой
Задняя прокладка
Пенополиэтилен, поставляется.
Стандартные исполнения
Втулка с развёрнутым отверстием H7 Ø 14 мм, монтируемая на вал с помощью поставляемого установочного винта с гнездом для шестигранной головки и чашевидным концом, входит в комплект поставки.
- DD51: втулка из стали с чёрной оксидной плёнкой.
- DD51-SST: втулка из нержавеющей стали AISI 303 INOX .
Направление вращения
- D: по часовой стрелке. Возрастание значений с вращением втулки по часовой стрелке.
- S: против часовой стрелки. Возрастание значений с вращением втулки против часовой стрелки.
Вес
42 граммов.
Особенности и области применения
Цифровые индикаторы положения с прямым приводом могут быть собраны на сквозных шпинделях любого расположения для обеспечения прямого чтения расположения компонента машины. Они также подходят для применения с приводом от двигателя (См. „Пример описания для заказа“)
Эргономичность и удобство в использовании
Компактный счётчик, эргономично спроектированные цифры для быстрого чтения. Чёткость показаний счётчика повышается благодаря наличию увеличительного окна.
Специальные исполнения доступны по запросу
Специальные показания после одного оборота.
Корпус в различных цветах.
Полностью герметичные цифровые индикаторы положения со степенью защиты IP 67, см. EN 60529 стол полученный с помощью медной втулки с двойным уплотняющим кольцом внутри заднего углубления основания.
LB - блокировочное устройство
Индикаторы положения DD51-LB предназначены для фиксации шпинделя, на котором они установлены, во избежание риска случайных изменений настройки из-за вибраций. Для блокировки или разблокировки вращения шпинделя просто переместите рычаг в поз. А, что соответствует разблокированному шпинделю, в поз. В – заблокированному шпинделю.
С учётом повторяющихся циклов блокировки специальный прибор характеризуется высокой износоустойчивостью и отлично функционирует в течение долгого времени.
Для заказа индикатора с фиксацией шпинделя добавьте индекс -LB после кода и описания (например, CE.84101-LB DD51-AN-00.50-D-C3-LB).

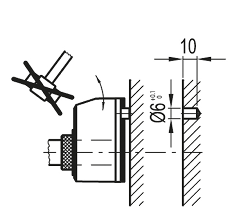
Инструкции по монтажу
Просверлите Ø 6 × 10 мм отверстие в корпусе машины с 22-мм межцентровым расстоянием от вала для установки заднего установочного штифта.
Установите шпиндель в начало или исходное положение.
Установите индикатор с обнулённым счётчиком на шпиндель и убедитесь в установке штифта в отверстие.
Установите втулку на валу, затянув установочный винт с гнездом для шестигранной головки и чашеобразным концом, в соответствии с UNI 5929-85.

Аксессуары по запросу (заказываются отдельно)
- MDX-51: ручка из технополимера на основе полиамида (PA).
- RB51: переходные втулки из стали с чёрной оксидной плёнкой.
- RB51-SST: переходные втулки из нержавеющей стали AISI 304.
- BSA-N51: основания из цинка, литого под давлением, для фиксации шпинделя, покрытие из эпоксидной смолы, чёрный цвет, матовая отделка (см. таблицу). Регулируемая ручка GN 302.1. Фиксирующие основания BSA-N51 позволяют легко и быстро зафиксировать шпиндели после их позиционирования. Они оснащены отверстием Ø6,1 мм для установки опорного штифта индикатора. Ручка может быть установлена с правой или с левой стороны фиксирующего основания. Фиксирующие основания могут быть установлены на станке с помощью двух винтов с цилиндрической головкой M4 (не входят в комплект поставки).
- BS51Разделительная плита из стекловолокнистого технополимера на основе полиамида (PA) (код CE.85900).
Оплата товара производится только за безналичный расчет. Документы для оплаты высылаются на электронную почту заказчика после согласования всех существенных условий заказа (ассортимент, кол-во изделий, сроки поставки и др.). Датой оплаты считается дата поступления денежных средств на расчетный счет продавца.
Доставка осуществляется на территории РФ и СНГ транспортными компаниями по согласованию с заказчиком. Возможен самовывоз со склада продавца (перед приездом необходимо связаться с менеджером и уточнить готовность товара к отгрузке). Дата и время доставки согласовываются с заказчиком.